Inrichtingsvisie Linge-oever Geldermalsen (2010)
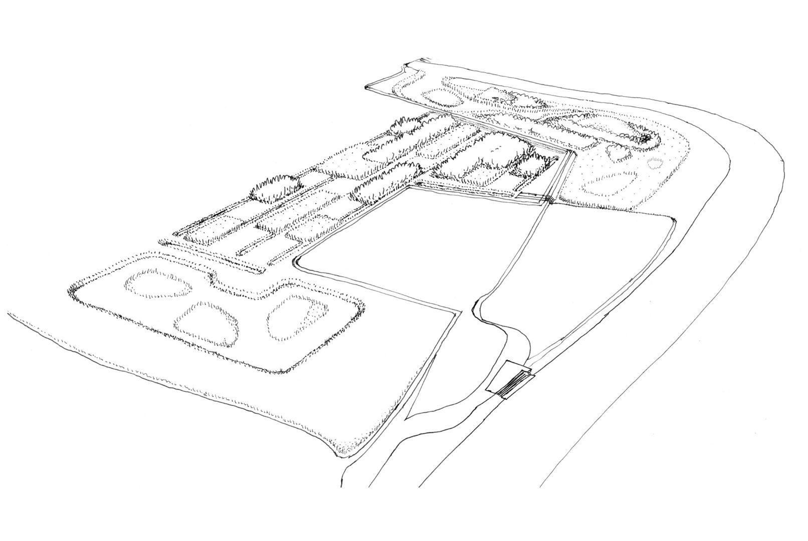
De realisatie van een nieuwe rioolwaterzuiveringsinstallatie (RWZI) was aanleiding voor de gemeente Geldermalsen en waterschap Rivierenland om de mogelijkheden te onderzoeken voor een natuurlijke waternazuivering (Waterharmonica) en de rol die zij kan spelen in het gebied Linge-oever, in de uiterwaarden bij Geldermalsen. Daartoe is door Paul de Graaf en Birgitte Louise Hansen een visie gemaakt op de landschappelijk inrichting van het gebied. De identiteit van Geldermalsen als dorp aan de rivier was daarbij leidend. Een beschrijving van het gebied als systeem laat zien welke functies vroeger en nu aan de rivier gebonden zijn. De riviergebonden belangen van bewoners, recreatie, landbouw en ecologie en de daarbij betrokken partijen krijgen in de visie een plek en vormen gezamenlijk een ‘groenpalet’: groene functies met elk een eigen vorm van beheer die elkaar waar mogelijk versterken en ruimte delen.
Vervolgens is op basis van deze visie een tweetal schetsontwerpen gemaakt voor een Waterharmonica, waarbij de verschillende stappen in het nazuiveringsproces ook een esthetische en ecologische functie krijgen en deel worden van het recreatieve landschap van de Linge-oever.
i.s.m. Birgitte Louise Hansen
advies Waterharmonica: Witteveen + Bos
opdrachtgever: Gemeente Geldermalsen en Waterschap Rivierenland
status: studie




